|
|
|
Probleme mit verschachtelten if-Konstrukten |
|
| Bug |

Forum-Anfänger
|
 |
Beiträge: 11
|
 |
|
 |
Anmeldedatum: 17.12.13
|
 |
|
 |
Wohnort: ---
|
 |
|
 |
Version: R2013b
|
 |
|
|
 |
|
Verfasst am: 17.12.2013, 17:35
Titel: Probleme mit verschachtelten if-Konstrukten
|
 |
| |
 |
|
Hallo miteinander,
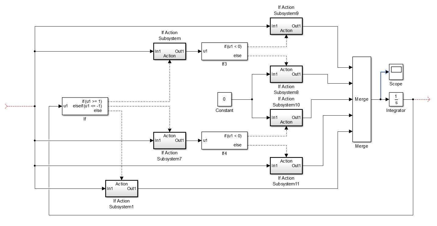
leider habe ich heute einige Zeit daran gesessen ein einfach verschachteltes if-Konstrukt in Simulink immer und immer wieder auf die Richtigkeit der Bedingungen und Verknüpfungen zu überprüfen um am Ende festzustellen, dass Simulink mir zwei verschiedene Ergebnisse auswirft wenn ich hinter einem "Merge"-Block das Signal mit einem Scope abgreife (Wunschergebnis) oder nicht (irritierendes Ergebnis). Im letzt beschriebenen Fall wird der Ausgang einfach dauerhaft auf Null gesetzt.
Ein Screenshot des Konstruktes habe ich hier mal angefügt.
Meine Frage ist jetzt: Handelt es sich hierbei tatsächlich um einen Fehler oder habe ich was übersehen bzw. falsch verknüpft o.Ä.?
Da ich in der Nomeklatur hier noch nicht so bewandert bin, habe ich meine Suche nach ähnlichen Threads auf das durchstöbern dieses Forums begrenzt und bitte daher um Nachsicht, falls es ein alter Hut sein sollte.
| Beschreibung: |
| Die erwähnte Abfrage ist rechts im Schaltbild markiert. |
|
 Download |
| Dateiname: |
If-Konstrukt mit Abfrage.JPG |
| Dateigröße: |
84.72 KB |
| Heruntergeladen: |
1457 mal |
|
|
|
|
|
|
| Bug |
Themenstarter

Forum-Anfänger
|
 |
Beiträge: 11
|
 |
|
 |
Anmeldedatum: 17.12.13
|
 |
|
 |
Wohnort: ---
|
 |
|
 |
Version: R2013b
|
 |
|
|
 |
|
Verfasst am: 08.05.2014, 14:17
Titel:
|
 |
Nachdem ich das Problem an unseren persönlichen Ansprechpartner bei MathWork Technical Support Germany weitergeleitet hatte, kam folgende Antwort:
"Das Problem der "unzuverlässigen" Daten ist hierbei, dass Ihre Logik zwar "mutually exclusive", also sich gegenseitig ausschließend ist, die if/else Blöcke sich aber nicht für Merge Blöcke eignen.
Der Ausgang der if/else Blöcke hat immer einen Wert, daher liegt auch beim Simulationsstart an allen Outputs der if/else Blöcke der Wert "0" zum Zeitschritt 0 an."
und weiter:
"Bitte verwenden Sie stattdessen beispielsweise Triggered Subsystems.
Bezüglich der Implementierung können Sie anstatt einer komplizierten Verschachtelung (wie hier im Modell) eine MATLAB Function verwenden, in der Sie die Logik in einfachem MATLAB Code nachbauen können."
|
|
|
|
|
|
|
Einstellungen und Berechtigungen
|
|
Du kannst Beiträge in dieses Forum schreiben. Du kannst auf Beiträge in diesem Forum antworten. Du kannst deine Beiträge in diesem Forum nicht bearbeiten. Du kannst deine Beiträge in diesem Forum nicht löschen. Du kannst an Umfragen in diesem Forum nicht mitmachen. Du kannst Dateien in diesem Forum posten Du kannst Dateien in diesem Forum herunterladen
|
|
Impressum
| Nutzungsbedingungen
| Datenschutz
| FAQ
| RSS
Hosted by:
Copyright © 2007 - 2026
goMatlab.de | Dies ist keine offizielle Website der Firma The Mathworks
MATLAB, Simulink, Stateflow, Handle Graphics, Real-Time Workshop, SimBiology, SimHydraulics, SimEvents, and xPC TargetBox are registered trademarks and The MathWorks, the L-shaped membrane logo, and Embedded MATLAB are trademarks of The MathWorks, Inc.
|
|