|
|
| ands91 |

Forum-Newbie
|
 |
Beiträge: 7
|
 |
|
 |
Anmeldedatum: 16.06.14
|
 |
|
 |
Wohnort: ---
|
 |
|
 |
Version: ---
|
 |
|
|
 |
|
Verfasst am: 08.01.2016, 22:15
Titel: Simulieren eines Servos
|
 |
| |
 |
|
Guten Tag,
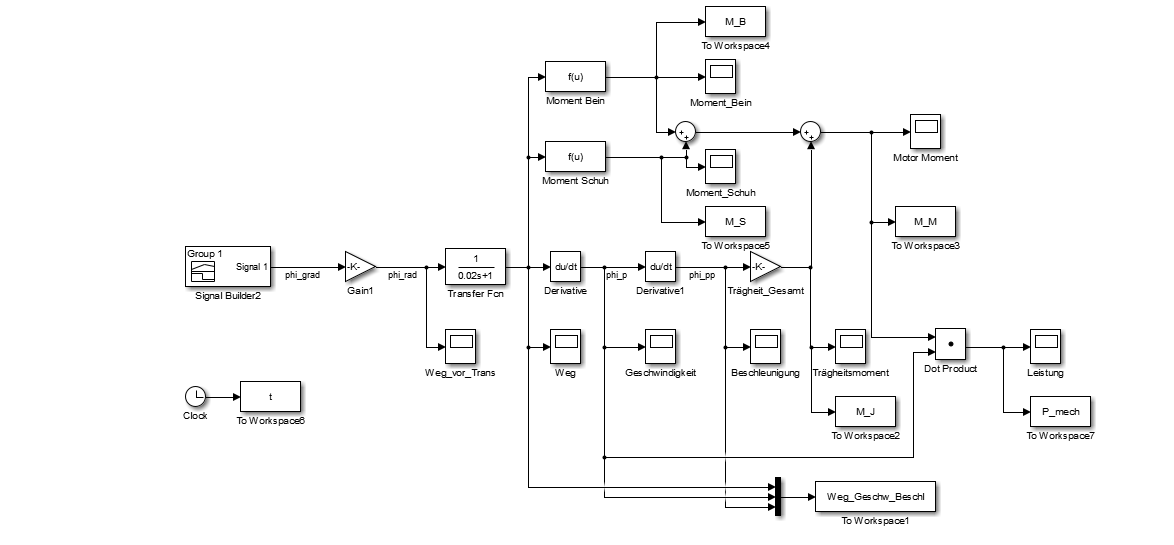
momentan arbeite ich an einem Projekt bei dem ein Servo ein bestimmtes Gewicht drehen soll. Vor der Auswahl des Servos will ich diesen mit Simulink/Matlab simulieren um zu wissen welches Moment, Leistung, Beschleunigung etc. habe. Dabei gebe ich den Weg vor.
Das heißt ich will ihm sagen fahre von 0° auf 90° und dann halt die oben beschriebenen Sachen erhalten. Leider habe ich nicht so viel Erfahrung mit Simulink. Die mechanischen Daten Trägheitsmoment und die Lasten habe ich berechnet.
Im Anhang habe ich ein erste Version der Simulation. Mir wurde gesagt diese sei eine inverse Systemdynamik. Kann man dies so machen? Ich habe das bis jetzt so kennengelernt, dass man meistens von der Beschleunigung ausgeht und dann integriet. Kann man das hier auch so machen?
P.S.
Die Transferfunction ist dafür da, dass die Rampe des Weges "geglättet" wird und nicht so starke Änderungen hat.
| Beschreibung: |
|
 Download |
| Dateiname: |
SimServoMotor.PNG |
| Dateigröße: |
33.74 KB |
| Heruntergeladen: |
602 mal |
|
|
|
|
|
|
| Epfi |

Forum-Meister
|
 |
Beiträge: 1.134
|
 |
|
 |
Anmeldedatum: 08.01.09
|
 |
|
 |
Wohnort: ---
|
 |
|
 |
Version: ---
|
 |
|
|
 |
|
Verfasst am: 09.01.2016, 15:31
Titel: Re: Simulieren eines Servos
|
 |
| ands91 hat Folgendes geschrieben: |
| Mir wurde gesagt diese sei eine inverse Systemdynamik. Kann man dies so machen? |
Kann man schon. Sobald Du da aber mit Messwerten statt im Simulink erzeugten Signalen draufgehst, fliegt Dir das um die Ohren...
| Zitat: |
| Ich habe das bis jetzt so kennengelernt, dass man meistens von der Beschleunigung ausgeht und dann integriet. Kann man das hier auch so machen? |
Das kannst Du hier auch machen. Du musst nur Deine DGL aufschreiben und so oft integrieren, bis alle Differenziationsstellen weg sind und nur noch Integratoren übrig sind.
| Zitat: |
| Die Transferfunction ist dafür da, dass die Rampe des Weges "geglättet" wird und nicht so starke Änderungen hat. |
Dafür ist ein PT1-Glied aber nicht so gut geeignet. Sprünge werden da zwar glatter, aber man trotzdem noch eine große Änderungsrate am Ausgang. Häufig findet man für sowas rate-limiter, die einfach die maximale Steigung des Signals begrenzen.
|
|
|
|
| ands91 |
Themenstarter

Forum-Newbie
|
 |
Beiträge: 7
|
 |
|
 |
Anmeldedatum: 16.06.14
|
 |
|
 |
Wohnort: ---
|
 |
|
 |
Version: ---
|
 |
|
|
 |
|
Verfasst am: 10.01.2016, 12:33
Titel:
|
 |
Danke Ihnen für die Antwort.
Mit Medswerten werde ich nicht in Sinulink arbeiten. Dies ist nur zur Simulation da.
Wie genau meinen Sie das mit dem integrieren, das verstehe ich nicht ganz.
Das mit dem Rate Limiter ist eine gute Idee. Danke dafür.
|
|
|
|
| Epfi |

Forum-Meister
|
 |
Beiträge: 1.134
|
 |
|
 |
Anmeldedatum: 08.01.09
|
 |
|
 |
Wohnort: ---
|
 |
|
 |
Version: ---
|
 |
|
|
 |
|
Verfasst am: 10.01.2016, 16:59
Titel:
|
 |
Ganz einfaches Beispiel (Reihenschaltung eines RL-Glieds):
Das ist die Form mit Ableitung drin. Umstellen und integrieren ergibt dann
Entsprechend kannst Du das für Deine Gleichungen auch machen. Dadurch ersparst Du Dir das Ableiten, was in der Regel von Vorteil ist, weil Ableitungen lieber Probleme bereiten, als anstandslos gute Ergebnisse zu liefern. Aber wenn Du mit Deinem Modell keine Probleme hast, kannst Du Dir den Aufwand auch sparen...
|
|
|
|
|
|
|
Einstellungen und Berechtigungen
|
|
Du kannst Beiträge in dieses Forum schreiben. Du kannst auf Beiträge in diesem Forum antworten. Du kannst deine Beiträge in diesem Forum nicht bearbeiten. Du kannst deine Beiträge in diesem Forum nicht löschen. Du kannst an Umfragen in diesem Forum nicht mitmachen. Du kannst Dateien in diesem Forum posten Du kannst Dateien in diesem Forum herunterladen
|
|
Impressum
| Nutzungsbedingungen
| Datenschutz
| FAQ
| RSS
Hosted by:
Copyright © 2007 - 2026
goMatlab.de | Dies ist keine offizielle Website der Firma The Mathworks
MATLAB, Simulink, Stateflow, Handle Graphics, Real-Time Workshop, SimBiology, SimHydraulics, SimEvents, and xPC TargetBox are registered trademarks and The MathWorks, the L-shaped membrane logo, and Embedded MATLAB are trademarks of The MathWorks, Inc.
|
|