|
|
|
Zahlen aneinander hängen / Little Endian Format |
|
| Autodidakt |

Forum-Anfänger
|
 |
Beiträge: 39
|
 |
|
 |
Anmeldedatum: 08.02.14
|
 |
|
 |
Wohnort: ---
|
 |
|
 |
Version: ---
|
 |
|
|
 |
|
Verfasst am: 16.08.2021, 11:03
Titel: Zahlen aneinander hängen / Little Endian Format
|
 |
Hallo Leute,
ich habs seit Langem mal wieder mit Simulink zu tun und habe eine Frage:
Ich lese CAN-Boschaften ein und diese werden mit mit seperaten Bytes angegeben (little endian format). Aus diesen Bytes möchte ich jetzt nach belieben neue Zahlen machen, Beispiel:
Byte0: 0xA0
Byte1: 0x30
Byte2: 0x01
Ergebnis: 0x0130A0
Leider komme ich nicht weiter, ich könnte zwar aus dem Ergebnis z. B. mit "Extract Bits" die passenden Bytes erstellen, aber anders herum geht es nicht.
Es müsste doch zumindest einen Block geben mit dem ich Bits aneinander hängen kann oder?
Liebe Grüße
|
|
|
|
|
|
| Autodidakt |
Themenstarter

Forum-Anfänger
|
 |
Beiträge: 39
|
 |
|
 |
Anmeldedatum: 08.02.14
|
 |
|
 |
Wohnort: ---
|
 |
|
 |
Version: ---
|
 |
|
|
 |
|
Verfasst am: 16.08.2021, 14:41
Titel:
|
 |
Ok ich probiere jetzt seit 6 Stunden rum.... das kann doch keine Raketenwissenschaft sein, in LabVIEW fallen mir dafür 3 Wege ein und keiner dauert länger als 20 Minuten ...
|
|
|
|
| Autodidakt |
Themenstarter

Forum-Anfänger
|
 |
Beiträge: 39
|
 |
|
 |
Anmeldedatum: 08.02.14
|
 |
|
 |
Wohnort: ---
|
 |
|
 |
Version: ---
|
 |
|
|
 |
|
Verfasst am: 16.08.2021, 15:52
Titel:
|
 |
Alles klar, da hab ich so verzweifelt ein Subsystem gesucht, dass ich ganz vergessen hab, dass ich ja auch noch ein Hirn habe, welches diese peinlich triviale Lösung hervorgebracht hat ....
| Beschreibung: |
|
 Download |
| Dateiname: |
xxxxxxx - Kopie.PNG |
| Dateigröße: |
43.23 KB |
| Heruntergeladen: |
611 mal |
|
|
|
|
| Harald |

Forum-Meister
|
 |
Beiträge: 24.502
|
 |
|
 |
Anmeldedatum: 26.03.09
|
 |
|
 |
Wohnort: Nähe München
|
 |
|
 |
Version: ab 2017b
|
 |
|
|
 |
|
Verfasst am: 16.08.2021, 16:05
Titel:
|
 |
| |
 |
|
Hallo,
hier gibt es derzeit leider nur wenige "Fragenbeantworter".
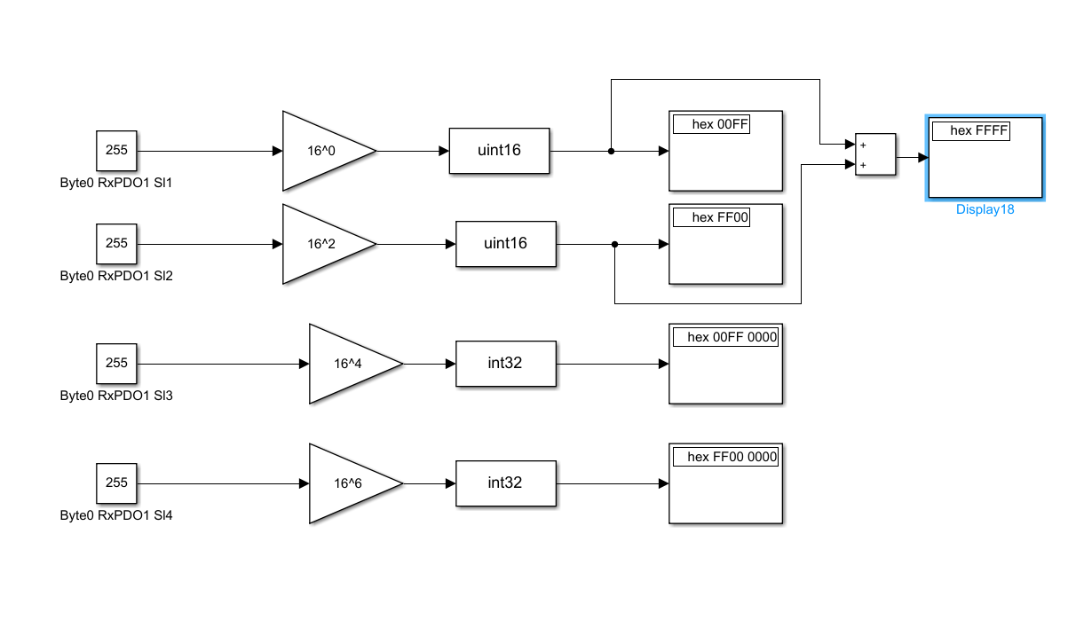
Ich nutze deutlich mehr MATLAB als Simulink und wenn, dann kaum Hexadezimalzahlen. In dem Beispiel aus der Doku würde ich so vorgehen, Teile mit entsprechenden Vorfaktoren zu multiplizieren und zu addieren.
Beispiel: 179 = 1011 0011
Man kann aus der oberen und unteren Hälfte wieder das Original konstruieren, indem man die oberen Hälfte mit 16 multipliziert und die untere addiert. Dabei muss man auf den Datentyp achten. Ein entsprechend erweitertes Modell des Beispiels in der Doku des "Extract Bits" - Blocks habe ich angehängt.
Für schnellere Antworten oder Antworten von wahren Experten würde ich mich an den Technischen Support wenden. :)
Grüße,
Harald
| Beschreibung: |
|
 Download |
| Dateiname: |
ex_extract_bits_basic_mod.slx |
| Dateigröße: |
27 KB |
| Heruntergeladen: |
658 mal |
_________________
1.) Ask MATLAB Documentation
2.) Search gomatlab.de, google.de or MATLAB Answers
3.) Ask Technical Support of MathWorks
4.) Go mad, your problem is unsolvable ;)
|
|
|
|
| Autodidakt |
Themenstarter

Forum-Anfänger
|
 |
Beiträge: 39
|
 |
|
 |
Anmeldedatum: 08.02.14
|
 |
|
 |
Wohnort: ---
|
 |
|
 |
Version: ---
|
 |
|
|
 |
|
Verfasst am: 18.08.2021, 10:05
Titel:
|
 |
Hallo Harald,
leider kann ich die Datei nicht öffnen, kannst Du es auf 2020B oder jünger "downgraden"?
Gruß ADD
|
|
|
|
| Harald |

Forum-Meister
|
 |
Beiträge: 24.502
|
 |
|
 |
Anmeldedatum: 26.03.09
|
 |
|
 |
Wohnort: Nähe München
|
 |
|
 |
Version: ab 2017b
|
 |
|
|
 |
|
Verfasst am: 18.08.2021, 10:37
Titel:
|
 |
Hallo,
jetzt auf R2020b. Ist aber nichts spektakuläres, sondern ähnlich zu dem, was du selbst gemacht hast. Ich hatte das nur nicht gesehen, während ich geschrieben habe.
Trag gerne auch das verwendete Release im Profil ein. Mit etwas Glück denke ich dann beim nächsten Mal dran, das für die richtige Version abzuspeichern. :)
Grüße,
Harald
| Beschreibung: |
|
 Download |
| Dateiname: |
ex_extract_bits_basic_mod_20b.slx |
| Dateigröße: |
25.45 KB |
| Heruntergeladen: |
685 mal |
_________________
1.) Ask MATLAB Documentation
2.) Search gomatlab.de, google.de or MATLAB Answers
3.) Ask Technical Support of MathWorks
4.) Go mad, your problem is unsolvable ;)
|
|
|
|
|
|
|
Einstellungen und Berechtigungen
|
|
Du kannst Beiträge in dieses Forum schreiben. Du kannst auf Beiträge in diesem Forum antworten. Du kannst deine Beiträge in diesem Forum nicht bearbeiten. Du kannst deine Beiträge in diesem Forum nicht löschen. Du kannst an Umfragen in diesem Forum nicht mitmachen. Du kannst Dateien in diesem Forum posten Du kannst Dateien in diesem Forum herunterladen
|
|
Impressum
| Nutzungsbedingungen
| Datenschutz
| FAQ
| RSS
Hosted by:
Copyright © 2007 - 2026
goMatlab.de | Dies ist keine offizielle Website der Firma The Mathworks
MATLAB, Simulink, Stateflow, Handle Graphics, Real-Time Workshop, SimBiology, SimHydraulics, SimEvents, and xPC TargetBox are registered trademarks and The MathWorks, the L-shaped membrane logo, and Embedded MATLAB are trademarks of The MathWorks, Inc.
|
|